咨询热线:

0512-52451184

扫一扫关注微信
扫一扫
关注微信

Product Center

产品中心

您的当前位置:首页 > 产品中心 > 球形夹层锅

FH(中国) 浓缩设备 针剂设备 过滤设备 球形夹层锅 制水设备 冷凝器 发酵罐 精馏设备 其他设备 锂电池反应釜
  • QJ系列可倾式球形夹层锅

QJ系列可倾式球形夹层锅

关键词:
所属分类:球形夹层锅
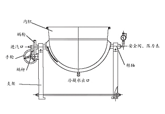
产品概述:可倾式夹层锅由主体、支架、蜗轮、蜗杆等部件组成,锅体可作180度以内的转动,本设备为敞口式浓缩,主要用于制药、食品、化工、轻工等行业对液料的煎煮和浓缩,该设备与物料接触部分为不锈钢OCr19Ni9,具有较好的耐腐蚀性能,经久耐用,符合药品卫生要求,同时也可根据用户要求…
在线订购
产品详情 图片集锦
概述:
  可倾式夹层锅由主体、支架、蜗轮、蜗杆等部件组成,锅体可作180度以内的转动,本设备为敞口式浓缩,主要用于制药、食品、化工、轻工等行业对液料的煎煮和浓缩,该设备与物料接触部分为不锈钢OCr19Ni9,具有较好的耐腐蚀性能,经久耐用,符合药品卫生要求,同时也可根据用户要求,增封闭式带搅拌装置及固定系列等。
技术参数:
项目Item/型号Model
QJ-I
QJ-II
QJ-III
QJ-IV

QJ-V

QJ-VI
QJ-VII
设备容积t  Capacity
50
100
150
200
300
400
500
夹套设计压力 MPa
Designed pressure in jacket
0.2
0.2
0.2
0.2
0.2
0.2
0.2
蒸发能力 kg/h
Evaporation capacity
30
45
60
80
100
125
138
加热面积 m2
Heating area
0.4
0.55
0.75
1
1.25
1.55
1.72
能耗 kg/h Energy consumption
35
52
70
92
115
145
160
容器类别 Vessel type
常压Normal pressure
一类ILE
First calss
设备重量 kg Weight
180
200
220
240
310
360
440
外形尺寸 mm      Dimensions
1020×600×950
1120×700×980
1220×800×980
1320×900×1020
1420×1000×1120
1520×1100×1150
1650×1200×1160
  • QJ系列可倾式球形夹层锅
相关文章
相关产品
  • QJ系列可倾式球形夹层锅
    QJ系列可倾式球形夹层锅
Top